在線咨詢咨詢熱線:400-0755-965
咨詢客服,我們快速為您報價,或者提供技術支持!
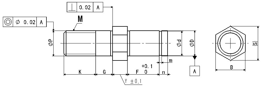
| 螺紋長度固定型 | 螺紋長度指定型 | 材質 | 表面處理 |
| AXFTY | AXFFTY | S45C | 四氧化三鐵保護膜 |
| AXFTN | AXFFTN | 無電解鍍鎳 | |
| AXFS | AXFFS | SUS303 | - |
| 型號 | D(g6) | 指定單位1mm | P(g6) |
M 粗牙螺紋 |
d | m | n | B | (S) | ||||||
| Y | F | G | K | 基準尺寸 | 公差 | ||||||||||
| 螺紋長度固定型 | 3 |
-0.002 -0.008 |
2~30 | 3~50 | 3~8 | 3~6 | 3 | M3 | 2 |
+0.06 0 |
0.5 | 2 | 6 | 6.8 | |
| AXFTY | 4 |
-0.004 -0.012 |
4~8 | 4 | M4 | 3 | 0.7 | ||||||||
| AXFTN | 5 | 5~10 | 5 | M5 | 4 |
+0.075 0 |
7 | 8.0 | |||||||
| AXFS | 6 | 2~60 | 5~100 | 5~10 | 6~12 | 6 | M6 | 5 | 8 | 9.1 | |||||
| 螺紋長度指定型 | 8 |
-0.005 -0.014 |
8~16 | 8 | M8 | 7 |
+0.09 0 |
0.9 | 3 | 10 | 11.4 | ||||
| AXFFTY | 10 | 10~20 | 10 | M10 | 9.6 |
0 -0.09 |
1.15 | 13 | 14.8 | ||||||
| AXFFTN | 12 |
-0.006 -0.017 |
10~100 | 5~15 | 12~24 | 12 | M12 | 11.5 |
0 -0.110 |
4 | 14 | 16.0 | |||
| AXFFS | 15 | 14.3 | 17 |
19.4 |
|||||||||||

掃一掃,關注我們